标题:
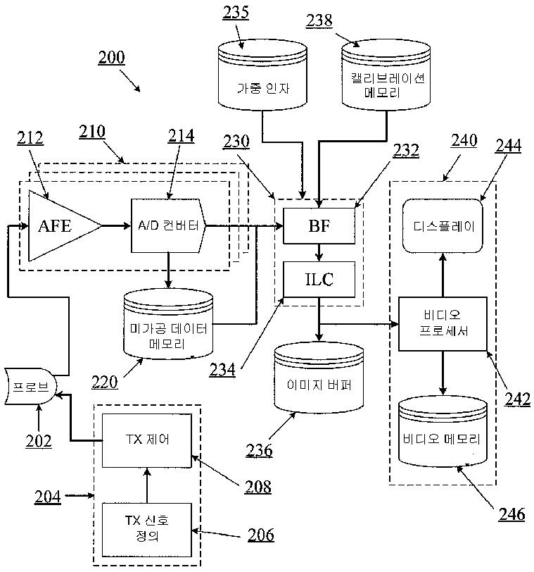
발명의 명칭 가중 인자들을 적용함으로써 초음파 이미지 품질을 향상시키는 시스템들 및 방법들
授权日:
1900-01-01
公开(公告)号:
KR1020140143807A
申请日:
2013-03-26
公开(公告)日:
2014-12-17
当前申请(专利权)人:
마우이 이미징, 인코포레이티드
发明人:
콜,조세프,알. | 스펙트,도날드,에프. | 브레웨,케니스,디.
简单同族:
CN104203110A | CN104203110B | EP2833791A1 | EP2833791A4 | HK1206956A | IN7243DELNP2014A | JP2015512301A | JP6399999B2 | KR1020140143807A | KR102103137B1 | US20130253325A1 | US20170224312A1 | US9668714 | WO2013148673A1
简单同族成员数量:
14
简单同族被引用专利总数:
64
诉讼案件数:
0
法律状态/事件:
授权