首页
专利数据库
产业人才
行业动态
产业政策法规
维权援助
个人中心
登录/注册
详情
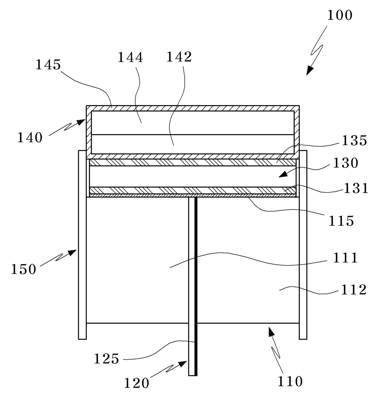
文本
图像
标题:
초음파 진단장치용 프로브 및 그 제조방법
授权日:
1900-01-01
公开(公告)号:
KR1020100104534A
申请日:
2009-03-18
公开(公告)日:
2010-09-29
当前申请(专利权)人:
삼성메디슨 주식회사
发明人:
정진우 | 서정철 | 김재익
简单同族:
EP2230029A1 | JP2010214116A | KR101137261B1 | KR1020100104534A | US20100241003A1 | US9073086
简单同族成员数量:
6
简单同族被引用专利总数:
23
诉讼案件数:
0
法律状态/事件:
授权