首页
专利数据库
产业人才
行业动态
产业政策法规
维权援助
个人中心
登录/注册
详情
文本
图像
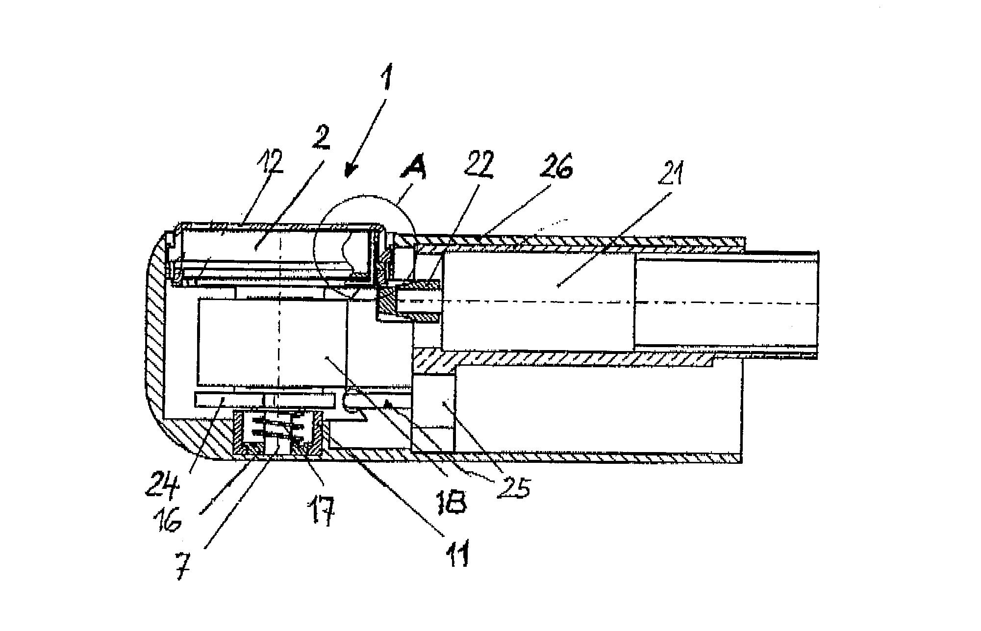
标题:
모터식 멀티플레인 초음파 탐침
授权日:
1900-01-01
公开(公告)号:
KR1020040105603A
申请日:
2004-06-07
公开(公告)日:
2004-12-16
当前申请(专利权)人:
콘트론 메디컬 아게
发明人:
리아드마크 | 쉬라에퍼클라우드 | 웰터안드레 | 키슬링비트
简单同族:
EP1484020A1 | JP2004358263A | JP4540398B2 | KR101027425B1 | KR1020040105603A | US20050015011A1
简单同族成员数量:
6
简单同族被引用专利总数:
33
诉讼案件数:
0
法律状态/事件:
未缴年费