首页
专利数据库
产业人才
行业动态
产业政策法规
维权援助
个人中心
登录/注册
详情
文本
图像
标题:
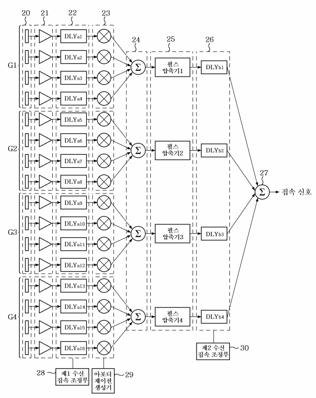
다단계 구조의 펄스 압축기를 이용한 초음파 영상 형성 장치 및 방법
授权日:
1900-01-01
公开(公告)号:
KR1020030021287A
申请日:
2001-09-05
公开(公告)日:
2003-03-15
当前申请(专利权)人:
삼성메디슨 주식회사
发明人:
배무호
简单同族:
JP2003079623A | JP4227783B2 | KR100406099B1 | KR1020030021287A | US20030045794A1 | US6669640
简单同族成员数量:
6
简单同族被引用专利总数:
31
诉讼案件数:
0
法律状态/事件:
授权