首页
专利数据库
产业人才
行业动态
产业政策法规
维权援助
个人中心
登录/注册
详情
文本
图像
标题:
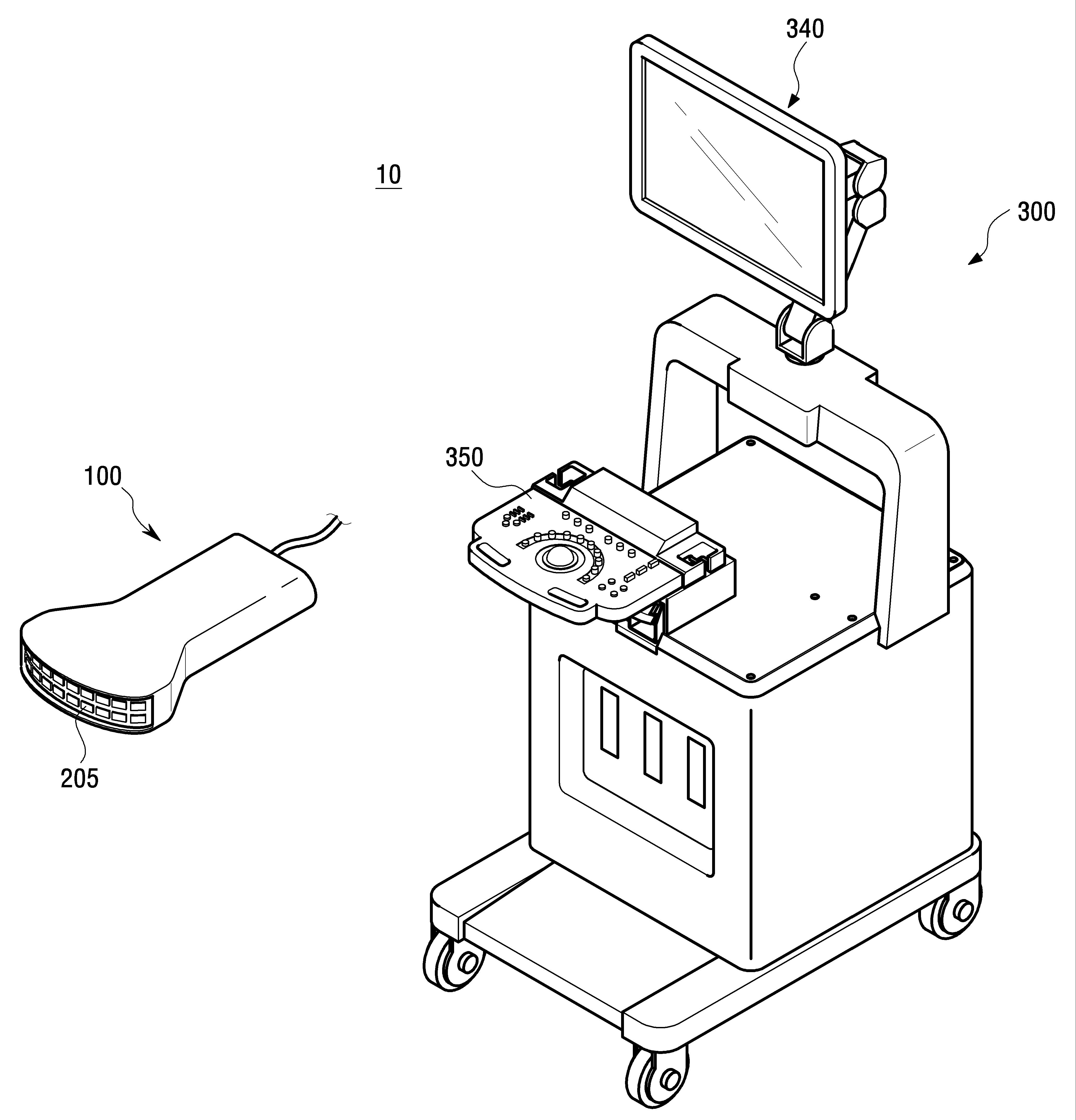
발명의 명칭 초음파 프로브, 및 이를 포함하는 초음파 영상장치, 및 그 제어방법
授权日:
1900-01-01
公开(公告)号:
KR1020160089689A
申请日:
2015-01-20
公开(公告)日:
2016-07-28
当前申请(专利权)人:
삼성전자주식회사
发明人:
최민석 | 김영일 | 송종근 | 이은성
简单同族:
KR1020160089689A | US20160206288A1
简单同族成员数量:
2
简单同族被引用专利总数:
0
诉讼案件数:
0
法律状态/事件:
撤回