首页
专利数据库
产业人才
行业动态
产业政策法规
维权援助
个人中心
登录/注册
详情
文本
图像
标题:
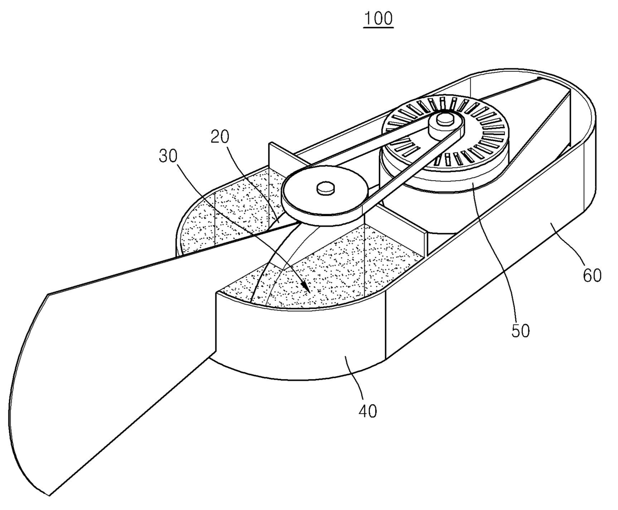
발명의 명칭 초음파 프로브 및 초음파 프로브 제조 방법
授权日:
1900-01-01
公开(公告)号:
KR1020150077049A
申请日:
2013-12-27
公开(公告)日:
2015-07-07
当前申请(专利权)人:
삼성메디슨 주식회사
发明人:
구진호 | 박정림 | 진길주
简单同族:
KR1020150077049A
简单同族成员数量:
1
简单同族被引用专利总数:
0
诉讼案件数:
0
法律状态/事件:
实质审查