首页
专利数据库
产业人才
行业动态
产业政策法规
维权援助
个人中心
登录/注册
详情
文本
图像
标题:
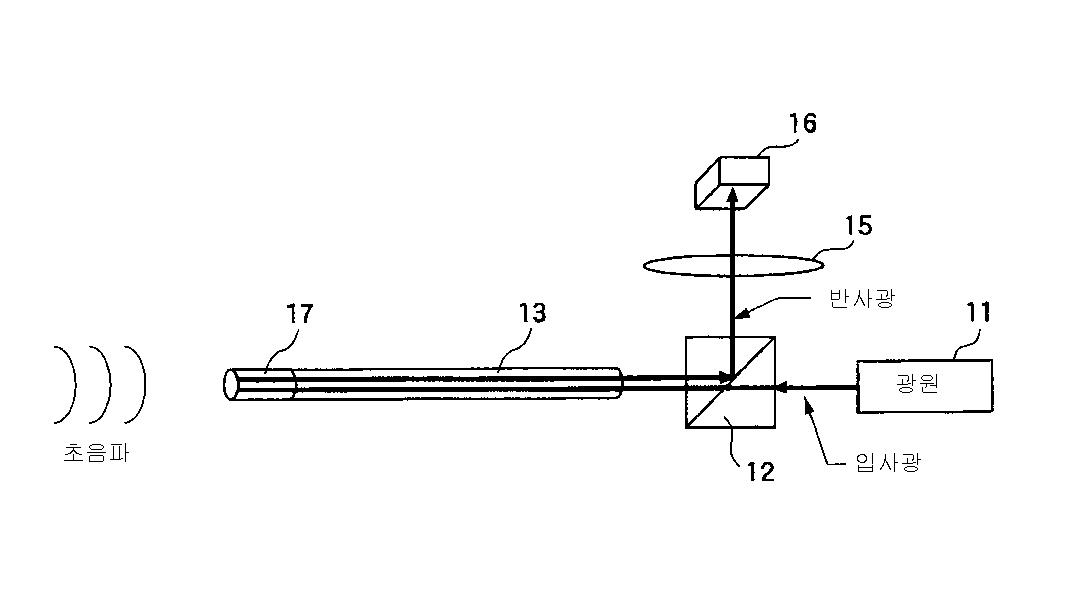
초음파 수신장치
授权日:
2009-01-14
公开(公告)号:
KR100879730B1
申请日:
2002-05-13
公开(公告)日:
2009-01-22
当前申请(专利权)人:
후지필름 가부시키가이샤
发明人:
OGAWA,EIJI
简单同族:
EP1258714A2 | JP2003169801A | JP3957276B2 | KR100879730B1 | KR1020020087865A | US20020166955A1 | US6984819
简单同族成员数量:
7
简单同族被引用专利总数:
25
诉讼案件数:
0
法律状态/事件:
未缴年费