首页
专利数据库
产业人才
行业动态
产业政策法规
维权援助
个人中心
登录/注册
详情
文本
图像
标题:
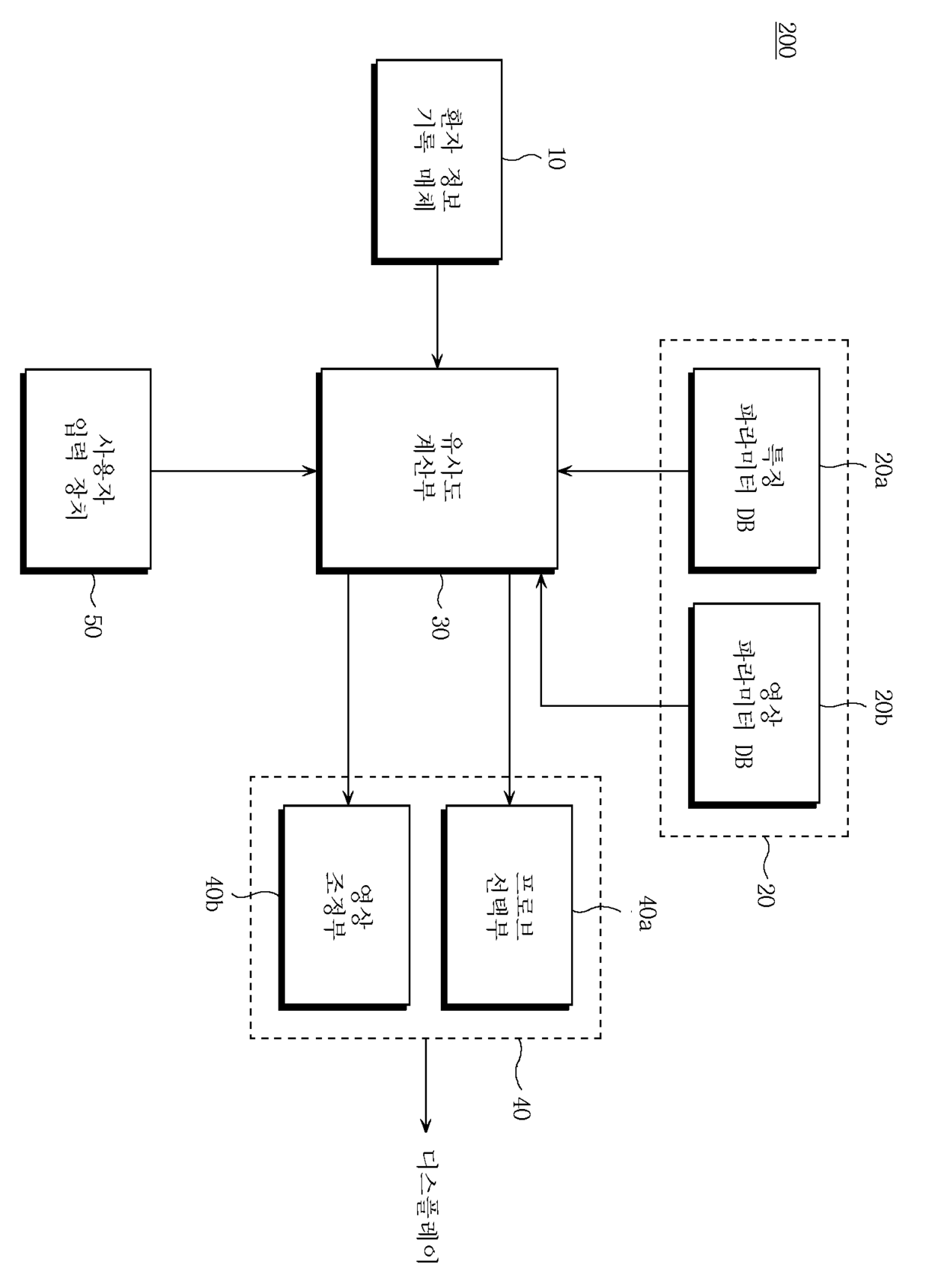
지식 기반 조정 수단을 이용한 초음파 영상 진단 시스템
授权日:
2005-11-02
公开(公告)号:
KR100527315B1
申请日:
2001-11-16
公开(公告)日:
2005-11-09
当前申请(专利权)人:
삼성메디슨 주식회사
发明人:
이승우 | 송영석 | 김정화
简单同族:
JP2003275204A | JP3826097B2 | KR100527315B1 | KR1020030039898A | US20030097065A1 | US6656120
简单同族成员数量:
6
简单同族被引用专利总数:
52
诉讼案件数:
0
法律状态/事件:
授权 | 复审 | 异议