标题:
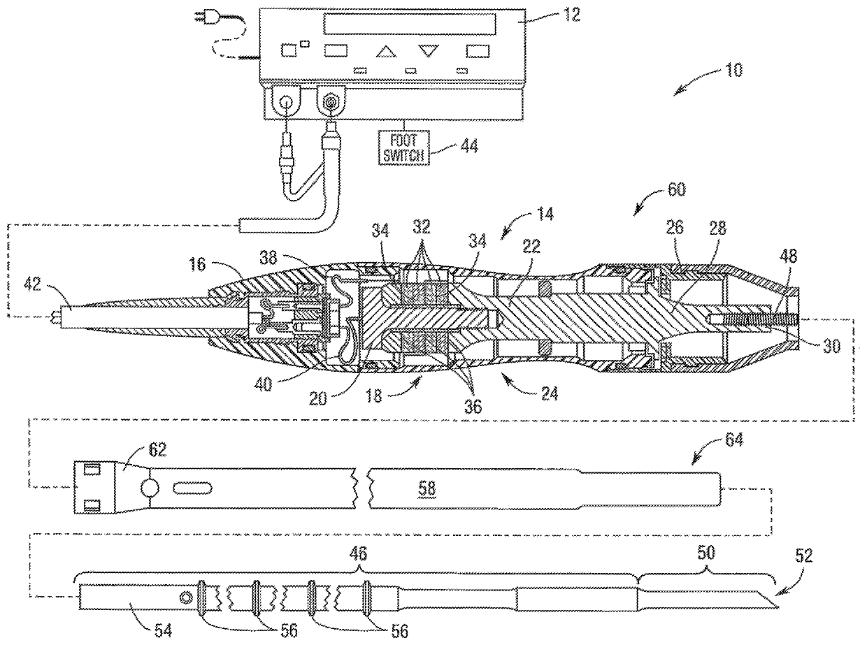
Ultrasonic surgical instruments
授权日:
1900-01-01
公开(公告)号:
US20190381339A1
申请日:
2019-08-27
公开(公告)日:
2019-12-19
当前申请(专利权)人:
ETHICON LLC
发明人:
VOEGELE, AARON C. | NIELD, SCOTT A. | STULEN, FOSTER B. | WAN, SHAN
简单同族:
AU2010270965A1 | AU2010270965B2 | CA2766558A1 | CA2766558C | CN102497826A | CN102497826B | EP2445423A2 | EP2445423B1 | EP3127496A1 | EP3127496B1 | EP3524193A1 | EP3639772A1 | EP3639774A1 | EP3653148A2 | EP3653149A2 | EP3653150A2 | JP2012531260A | JP5666576B2 | US10512795 | US20100331869A1 | US20100331870A1 | US20100331871A1 | US20100331872A1 | US20120289984A1 | US20130178882A1 | US20140243864A1 | US20170056058A1 | US20190381339A1 | US20190381340A1 | US8319400 | US8334635 | US8344596 | US8546999 | US8650728 | US8754570 | US9498245 | WO2011005467A2 | WO2011005467A3
简单同族成员数量:
38
简单同族被引用专利总数:
259
诉讼案件数:
0
法律状态/事件:
实质审查 | 权利转移