首页
专利数据库
产业人才
行业动态
产业政策法规
维权援助
个人中心
登录/注册
详情
文本
图像
标题:
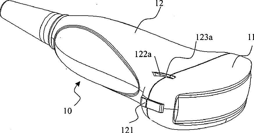
Structure for attaching needle guide to ultrasound probe
授权日:
1900-01-01
公开(公告)号:
US20070167817A1
申请日:
2006-08-30
公开(公告)日:
2007-07-19
当前申请(专利权)人:
SHENZHEN MINDRAY BIO-MEDICAL ELECTRONICS CO., LTD.
发明人:
HUANG, SHANZHI | ZHANG, MENGYUE | ZOU, JIANFENG
简单同族:
CN100525725C | CN1985769A | US20070167817A1 | US8137281
简单同族成员数量:
4
简单同族被引用专利总数:
63
诉讼案件数:
0
法律状态/事件:
授权 | 权利转移