首页
专利数据库
产业人才
行业动态
产业政策法规
维权援助
个人中心
登录/注册
详情
文本
图像
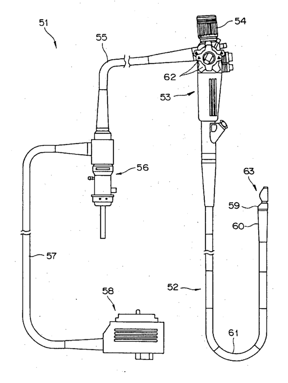
标题:
Ultrasonic endoscope and ultrasonic signal cable connector device
授权日:
1900-01-01
公开(公告)号:
US20050143659A1
申请日:
2004-12-21
公开(公告)日:
2005-06-30
当前申请(专利权)人:
OLYMPUS CORPORATION
发明人:
SAIGA, KAZUYA
简单同族:
AT458385T | DE602004025546D1 | EP1549117A1 | EP1549117B1 | JP2005192639A | JP4468691B2 | US20050143659A1
简单同族成员数量:
7
简单同族被引用专利总数:
28
诉讼案件数:
0
法律状态/事件:
撤回 | 权利转移