标题:
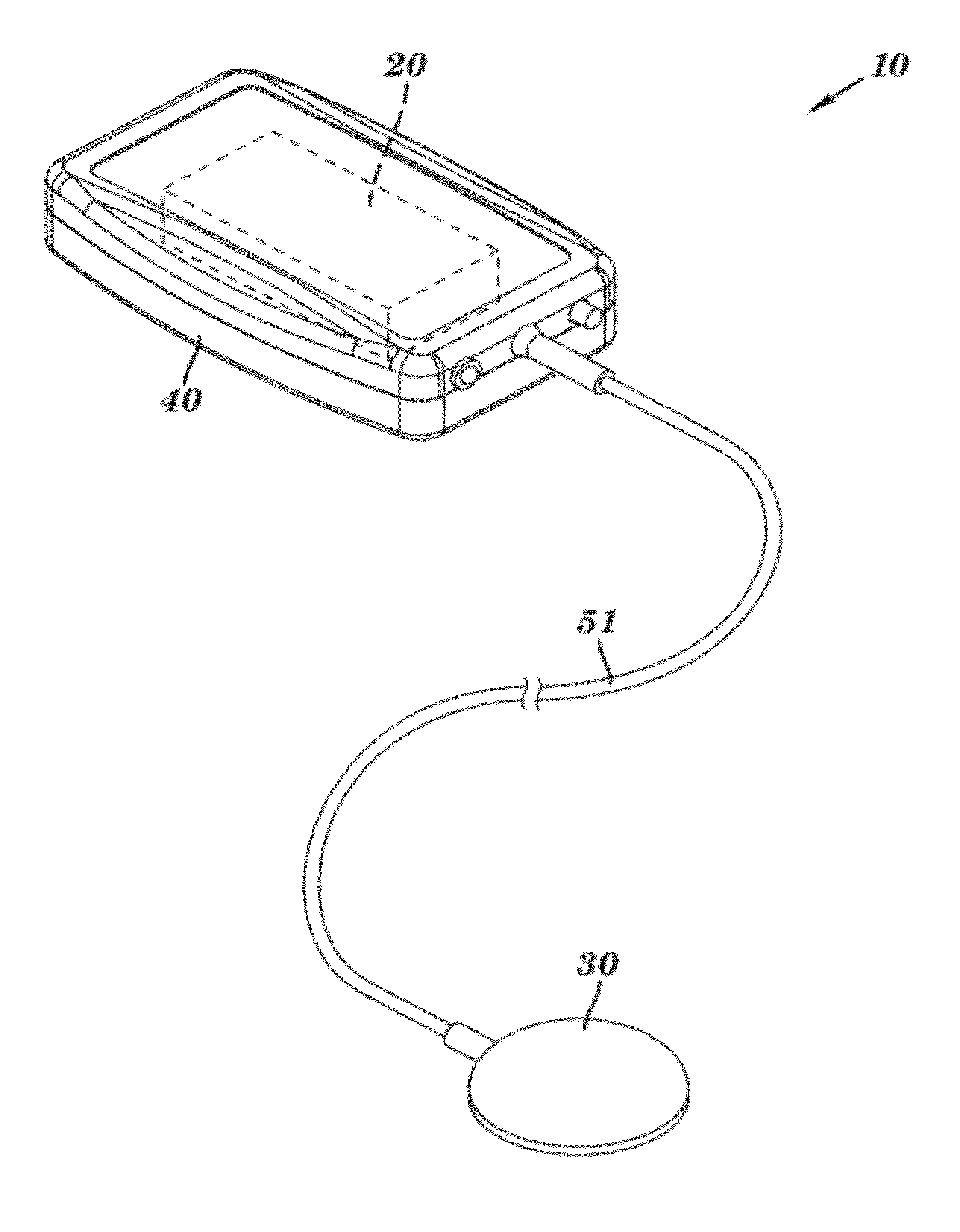
Portable ultrasound system
授权日:
2015-12-01
公开(公告)号:
US9199096
申请日:
2011-01-03
公开(公告)日:
2015-12-01
当前申请(专利权)人:
ZETROZ SYSTEMS LLC
发明人:
LEWIS, JR., GEORGE K.
简单同族:
BR112012016312A2 | BR112012016316A2 | BR112012016325A2 | CN102869409A | CN102907117A | CN102907117B | CN103096976A | CN103096976B | EP2519322A2 | EP2519322A4 | EP2519323A2 | EP2519323A4 | EP2520101A2 | EP2520101A4 | IN6597DELNP2012A | IN6598DELNP2012A | IN6605DELNP2012A | US20120277640A1 | US20120283605A1 | US20130006153A1 | US9199096 | US9480863 | US9492687 | WO2011082402A2 | WO2011082402A3 | WO2011082407A2 | WO2011082407A3 | WO2011082408A2 | WO2011082408A3
简单同族成员数量:
29
简单同族被引用专利总数:
67
诉讼案件数:
0
法律状态/事件:
授权 | 权利转移