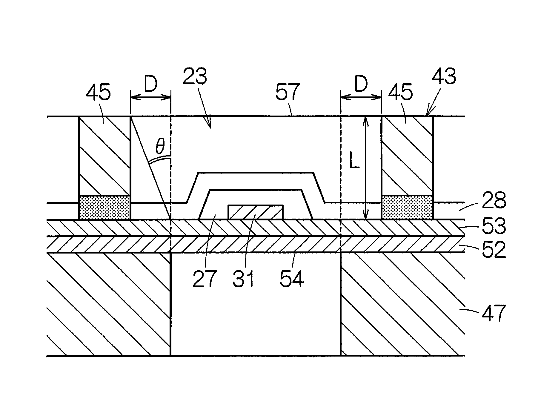
标题:
Ultrasonic transducer element unit, probe, probe head, electronic device, and ultrasonic diagnostic device
授权日:
2016-10-18
公开(公告)号:
US9468419
申请日:
2013-06-12
公开(公告)日:
2016-10-18
当前申请(专利权)人:
SEIKO EPSON CORPORATION
发明人:
ONISHI, YASUNORI | KIYOSE, KANECHIKA
简单同族:
CN103491489A | CN103491489B | EP2674227A2 | EP2674227A3 | JP2013255692A | JP2013255692A5 | JP6078994B2 | KR1020130139786A | US20130338507A1 | US9468419
简单同族成员数量:
10
简单同族被引用专利总数:
27
诉讼案件数:
0
法律状态/事件:
授权 | 权利转移