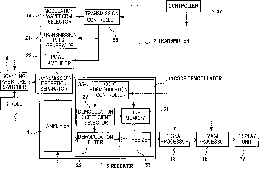
标题:
Ultrasonographic method and ultrasonographic device
授权日:
1900-01-01
公开(公告)号:
US20060173305A1
申请日:
2003-12-26
公开(公告)日:
2006-08-03
当前申请(专利权)人:
HITACHI MEDICAL CORPORTION
发明人:
ASAFUSA, KATSUNORI | KANDA, HIROSHI
简单同族:
CN100475148C | CN1756509A | DE60331861D1 | EP1582149A1 | EP1582149A4 | EP1582149B1 | JP2004209087A | JP4269145B2 | US20060173305A1 | US7354400 | WO2004060167A1
简单同族成员数量:
11
简单同族被引用专利总数:
69
诉讼案件数:
0
法律状态/事件:
未缴年费 | 权利转移