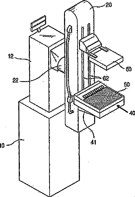
标题:
Apparatus for ultrasonic examination of deformable object
授权日:
1900-01-01
公开(公告)号:
US20060084868A1
申请日:
2004-01-17
公开(公告)日:
2006-04-20
当前申请(专利权)人:
PARK HEE-BOONG
发明人:
PARK, HEE-BOONG
简单同族:
CN100444802C | CN1722984A | EP1587423A1 | EP1587423A4 | EP1587423B1 | JP2006513015A | JP2009148587A | JP4295283B2 | JP4767330B2 | KR100668766B1 | KR1020050072489A | US20060084868A1 | US7963918 | WO2004064644A1
简单同族成员数量:
14
简单同族被引用专利总数:
23
诉讼案件数:
0
法律状态/事件:
授权