首页
专利数据库
产业人才
行业动态
产业政策法规
维权援助
个人中心
登录/注册
详情
文本
图像
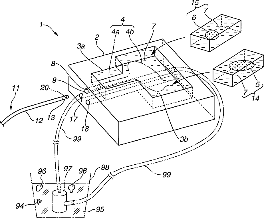
标题:
Ultrasound phantom
授权日:
1900-01-01
公开(公告)号:
US20040060340A1
申请日:
2003-09-25
公开(公告)日:
2004-04-01
当前申请(专利权)人:
OLYMPUS CORPORATION
发明人:
HIBI, YASUSHI | URAKAWA, TSUTOMU | SUGATA, TERUAKI
简单同族:
EP1406229A2 | EP1406229A3 | JP2004174171A | JP3780253B2 | US20040060340A1 | US7059168
简单同族成员数量:
6
简单同族被引用专利总数:
63
诉讼案件数:
0
法律状态/事件:
未缴年费 | 权利转移