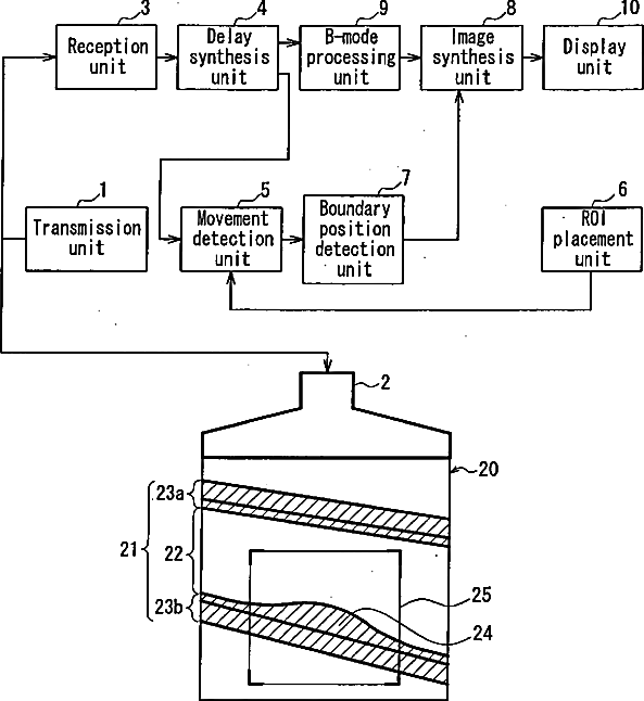
标题:
Ultrasonic diagnostic apparatus
授权日:
1900-01-01
公开(公告)号:
US20070123777A1
申请日:
2004-06-24
公开(公告)日:
2007-05-31
当前申请(专利权)人:
KONICA MINOLTA, INC.
发明人:
WATANABE, YOSHINOBU | TANNAKA, YOSHINAO | SUZUKI, TAKAO | HAGIWARA, HISASHI | SUNAGAWA, KAZUHIRO
简单同族:
JP4574551B2 | JPWO2004112568A1 | US20070123777A1 | US7686764 | WO2004112568A2 | WO2004112568A3
简单同族成员数量:
6
简单同族被引用专利总数:
62
诉讼案件数:
0
法律状态/事件:
未缴年费 | 权利转移