首页
专利数据库
产业人才
行业动态
产业政策法规
维权援助
个人中心
登录/注册
详情
文本
图像
标题:
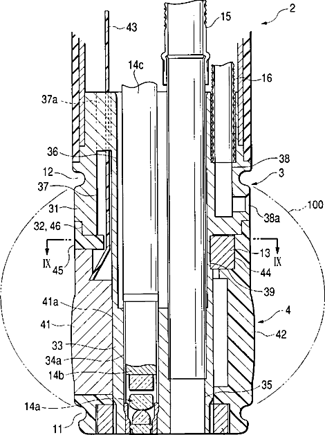
Forward viewing and radial scanning ultrasonic endoscope
授权日:
2003-02-04
公开(公告)号:
US6514210
申请日:
2001-05-08
公开(公告)日:
2003-02-04
当前申请(专利权)人:
PENTAX CORPORATION
发明人:
OHARA, KENICHI | HASHIYAMA, TOSHIYUKI
简单同族:
DE10122710A1 | DE10122710B4 | JP2001314404A | JP3619424B2 | US20010041839A1 | US6514210
简单同族成员数量:
6
简单同族被引用专利总数:
54
诉讼案件数:
0
法律状态/事件:
未缴年费 | 权利转移