首页
专利数据库
产业人才
行业动态
产业政策法规
维权援助
个人中心
登录/注册
详情
文本
图像
标题:
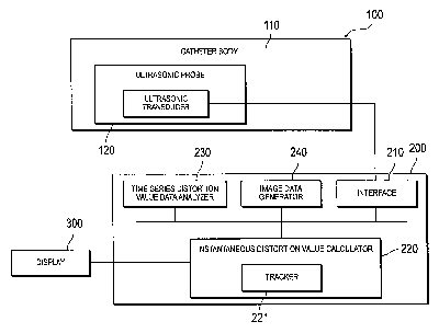
Ultrasonic diagnostic apparatus and method
授权日:
2008-03-04
公开(公告)号:
US7338452
申请日:
2004-05-06
公开(公告)日:
2008-03-04
当前申请(专利权)人:
TERUMO KABUSHIKI KAISHA
发明人:
SHIINA, TSUYOSHI | NITTA, NAOTAKA | YAGAMI, HIROYUKI
简单同族:
EP1475040A2 | EP1475040A3 | JP2004329550A | JP2004329550A5 | JP4263943B2 | US20050004467A1 | US7338452
简单同族成员数量:
7
简单同族被引用专利总数:
69
诉讼案件数:
0
法律状态/事件:
授权 | 权利转移