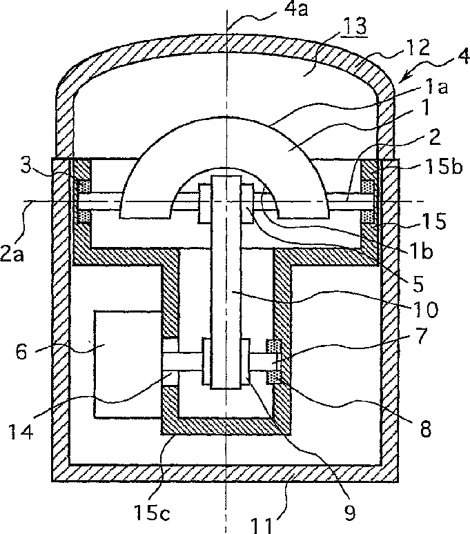
标题:
Ultrasonic probe and method of producing same
授权日:
1900-01-01
公开(公告)号:
US20020062080A1
申请日:
2001-11-14
公开(公告)日:
2002-05-23
当前申请(专利权)人:
KONICA MINOLTA, INC.
发明人:
OKAWA, EIICHI | SUZUKI, TAKASHI | IRIOKA, KAZUYOSHI | KOIZUMI, JUN
简单同族:
AT342693T | AU2001085529A1 | CA2363261A1 | CN1197526C | CN1353970A | DE60123909D1 | DE60123909T2 | EP1208800A2 | EP1208800A3 | EP1208800B1 | HK1044274A | JP2002153464A | JP3490390B2 | KR100823213B1 | KR1020020038547A | TW508230B | US20020062080A1 | US6569100
简单同族成员数量:
18
简单同族被引用专利总数:
61
诉讼案件数:
0
法律状态/事件:
授权 | 权利转移