首页
专利数据库
产业人才
行业动态
产业政策法规
维权援助
个人中心
登录/注册
详情
文本
图像
标题:
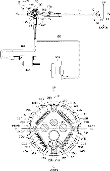
Ultrasonic endoscope
授权日:
2002-12-03
公开(公告)号:
US6488631
申请日:
2001-11-14
公开(公告)日:
2002-12-03
当前申请(专利权)人:
ASAHI KOGAKU KOGYO KABUSHIKI KAISHA
发明人:
OHARA, KENICHI | HASHIYAMA, TOSHIYUKI
简单同族:
DE10157025A1 | DE10157025B4 | JP2002153465A | JP3579646B2 | US20020062083A1 | US6488631
简单同族成员数量:
6
简单同族被引用专利总数:
44
诉讼案件数:
0
法律状态/事件:
未缴年费 | 权利转移