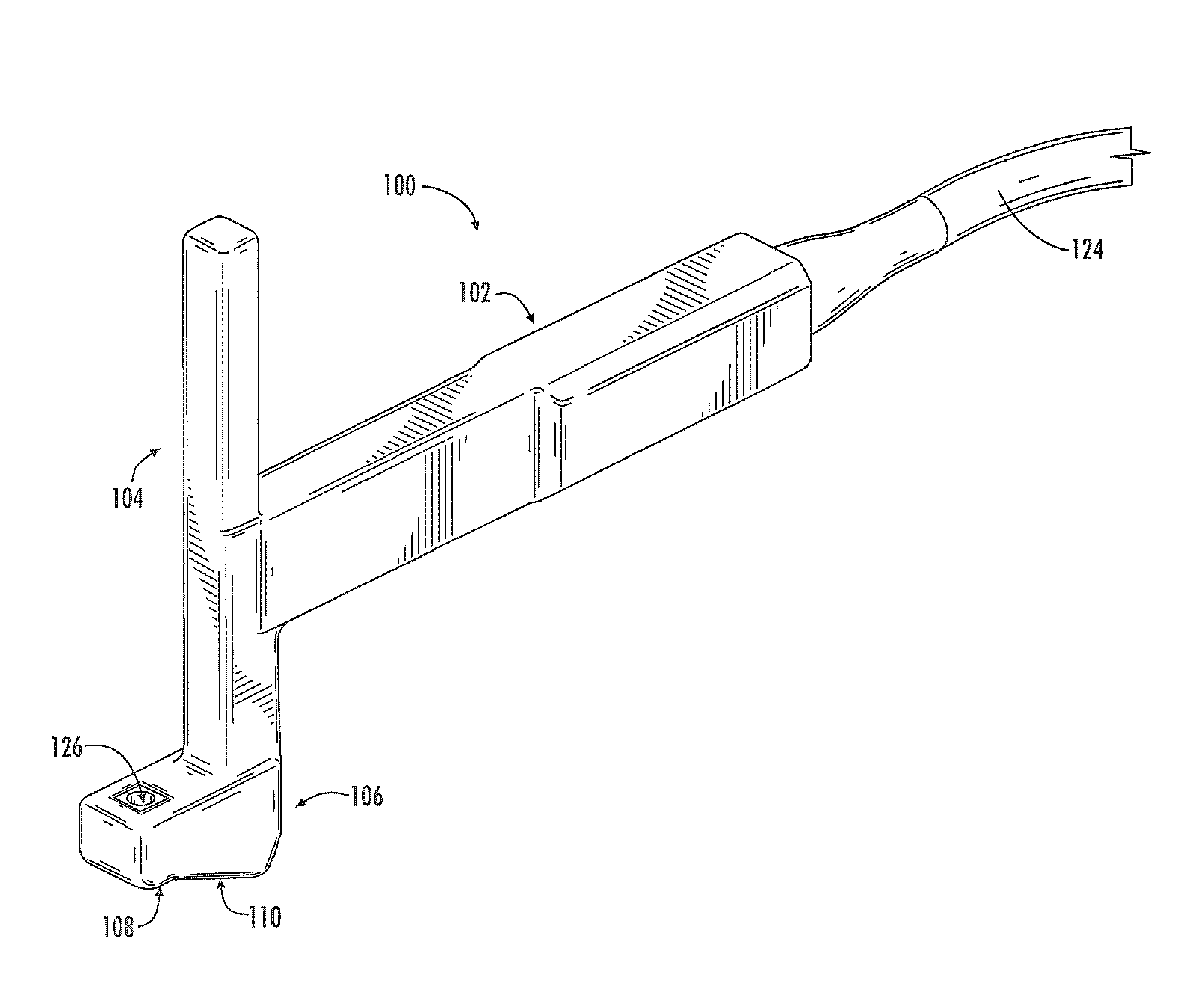
标题:
Ultrasound Guided Probe Device and Sterilizable Shield for Same
授权日:
1900-01-01
公开(公告)号:
US20110087105A1
申请日:
2009-10-09
公开(公告)日:
2011-04-14
当前申请(专利权)人:
SOMA RESEARCH, LLC
发明人:
RIDLEY, STEPHEN F. | HAGY, M. DEXTER
简单同族:
AU2010303831A1 | AU2010303831B2 | CA2776959A1 | EP2485649A2 | EP2586376A2 | EP2586376A3 | EP2586376B1 | JP2013507178A | JP2014193420A | JP2015107336A | JP5628457B2 | US20110087105A1 | US20130281837A1 | US20150209008A1 | US8761862 | US9351704 | WO2011043875A2 | WO2011043875A3
简单同族成员数量:
18
简单同族被引用专利总数:
54
诉讼案件数:
0
法律状态/事件:
授权 | 质押 | 权利转移