首页
专利数据库
产业人才
行业动态
产业政策法规
维权援助
个人中心
登录/注册
详情
文本
图像
标题:
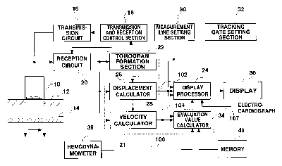
Ultrasonic diagnostic apparatus
授权日:
2004-01-06
公开(公告)号:
US6673020
申请日:
2001-02-09
公开(公告)日:
2004-01-06
当前申请(专利权)人:
HITACHI, LTD.
发明人:
OKADA, TAKASHI | HARADA, AKIMITSU
简单同族:
EP1123687A2 | EP1123687A3 | US20010016686A1 | US6673020
简单同族成员数量:
4
简单同族被引用专利总数:
61
诉讼案件数:
0
法律状态/事件:
授权 | 权利转移