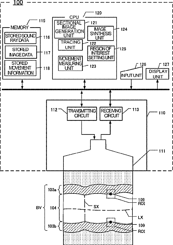
标题:
Ultrasound diagnostic apparatus and method for tracing movement of tissue
授权日:
1900-01-01
公开(公告)号:
US20120108971A1
申请日:
2011-10-27
公开(公告)日:
2012-05-03
当前申请(专利权)人:
GE MEDICAL SYSTEMS GLOBAL TECHNOLOGY COMPANY, LLC
发明人:
MIYAMA, KOJI | OGASAWARA, MASAFUMI
简单同族:
CN102525566A | CN102525566B | JP2012090820A | JP5294340B2 | KR1020120044266A | US20120108971A1 | US8475382
简单同族成员数量:
7
简单同族被引用专利总数:
24
诉讼案件数:
0
法律状态/事件:
授权 | 权利转移