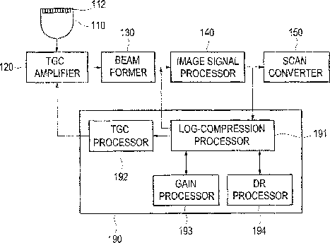
标题:
Image processing system and method of enhancing the quality of an ultrasound image
授权日:
2010-11-16
公开(公告)号:
US7833159
申请日:
2006-11-22
公开(公告)日:
2010-11-16
当前申请(专利权)人:
KOREA ADVANCED INSTITUTE OF SCIENCE AND TECHNOLOGY
发明人:
AHN, CHI YOUNG | RA, JONG BEOM | KIM, YONG SUN | LEE, DUHGOON
简单同族:
DE602006002706D1 | EP1793343A1 | EP1793343B1 | JP2007144181A | JP4891038B2 | KR100748858B1 | KR1020070054820A | US20070165925A1 | US7833159
简单同族成员数量:
9
简单同族被引用专利总数:
35
诉讼案件数:
0
法律状态/事件:
授权 | 权利转移