首页
专利数据库
产业人才
行业动态
产业政策法规
维权援助
个人中心
登录/注册
详情
文本
图像
标题:
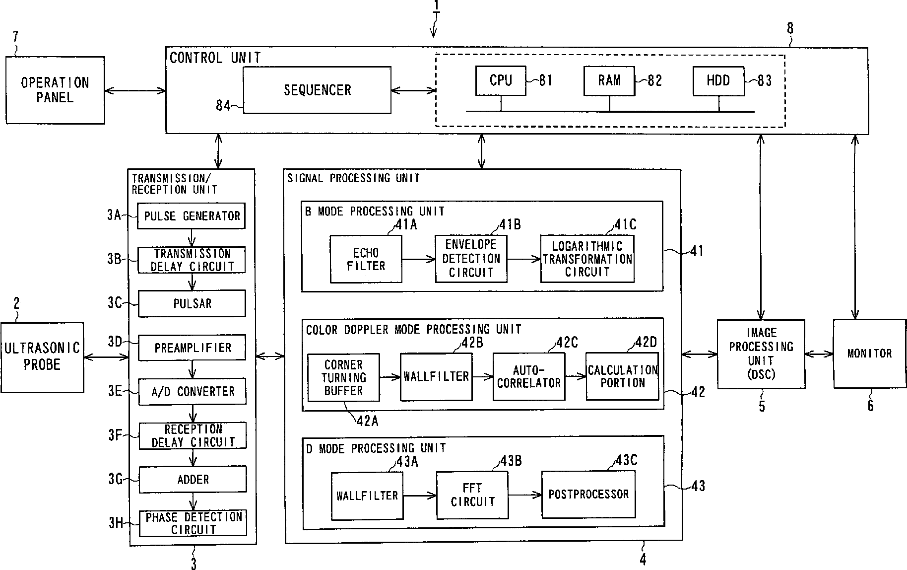
Ultrasonic diagnostic apparatus and ultrasonic diagnostic method
授权日:
2012-04-17
公开(公告)号:
US8157734
申请日:
2005-10-20
公开(公告)日:
2012-04-17
当前申请(专利权)人:
TOSHIBA MEDICAL SYSTEMS CORPORATION
发明人:
NAKATA, KAZUHITO
简单同族:
CN100448406C | CN1762307A | JP2006116149A | JP4653454B2 | US20060100515A1 | US8157734
简单同族成员数量:
6
简单同族被引用专利总数:
48
诉讼案件数:
0
法律状态/事件:
未缴年费 | 权利转移