首页
专利数据库
产业人才
行业动态
产业政策法规
维权援助
个人中心
登录/注册
详情
文本
图像
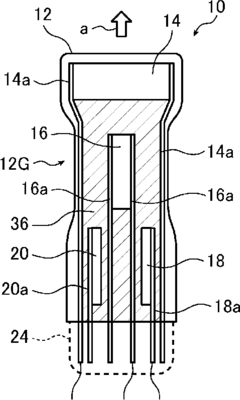
标题:
Ultrasound probe
授权日:
2016-07-05
公开(公告)号:
US9383435
申请日:
2011-11-22
公开(公告)日:
2016-07-05
当前申请(专利权)人:
FUJIFILM CORPORATION
发明人:
OSAWA, ATSUSHI
简单同族:
CN102525557A | CN102525557B | JP2012120691A | JP5215372B2 | US20120150038A1 | US9383435
简单同族成员数量:
6
简单同族被引用专利总数:
23
诉讼案件数:
0
法律状态/事件:
授权 | 权利转移