首页
专利数据库
产业人才
行业动态
产业政策法规
维权援助
个人中心
登录/注册
详情
文本
图像
标题:
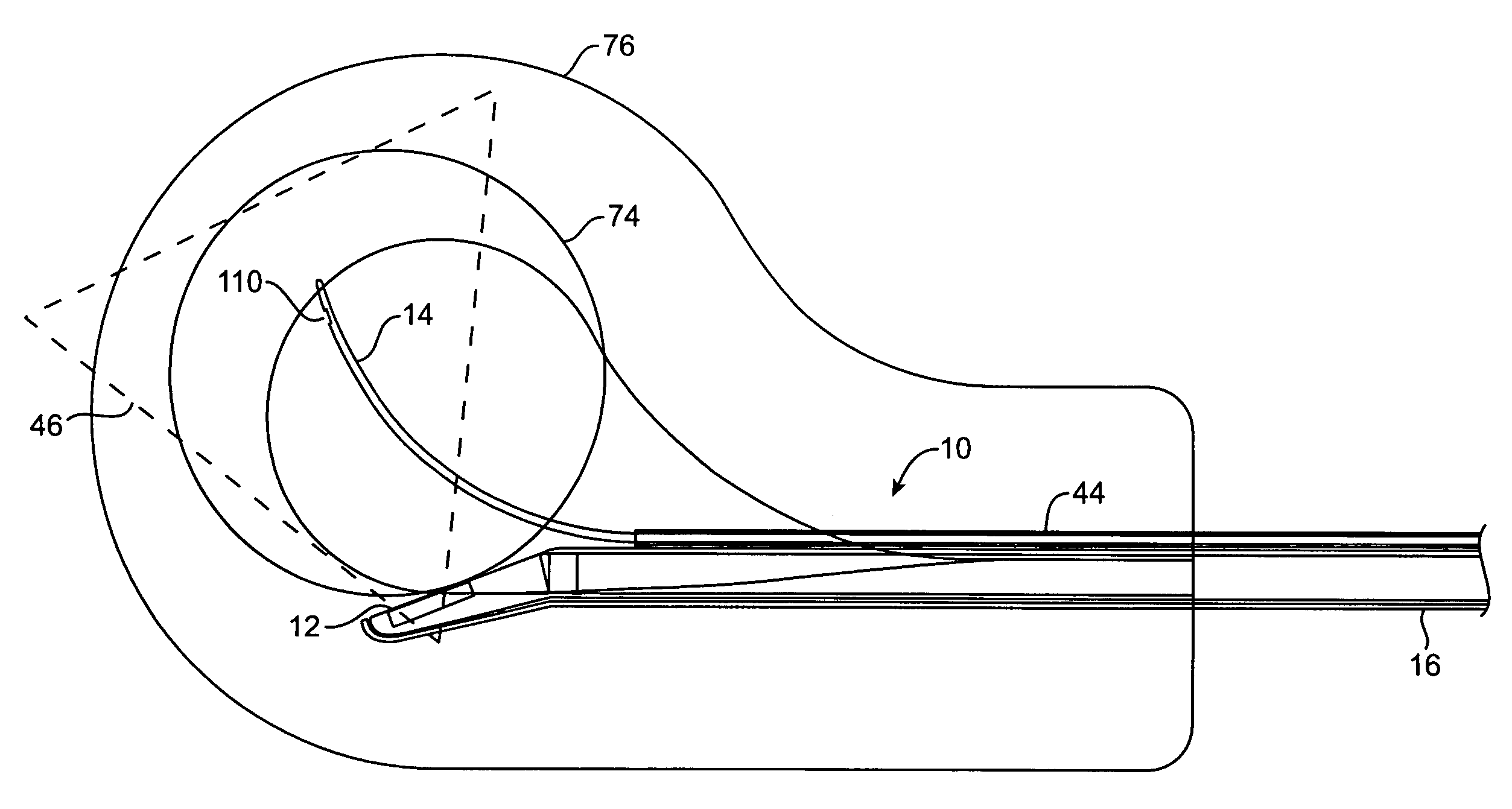
Systems and methods for deploying echogenic components in ultrasonic imaging fields
授权日:
1900-01-01
公开(公告)号:
US20090131790A1
申请日:
2008-05-12
公开(公告)日:
2009-05-21
当前申请(专利权)人:
GYNESONICS, INC.
发明人:
MUNROW, MICHAEL A. | GERBI, CRAIG | DECKMAN, ROBERT K.
简单同族:
EP2150180A1 | EP2150180A4 | US20090131790A1 | WO2008144341A1
简单同族成员数量:
4
简单同族被引用专利总数:
48
诉讼案件数:
0
法律状态/事件:
撤回 | 质押