首页
专利数据库
产业人才
行业动态
产业政策法规
维权援助
个人中心
登录/注册
详情
文本
图像
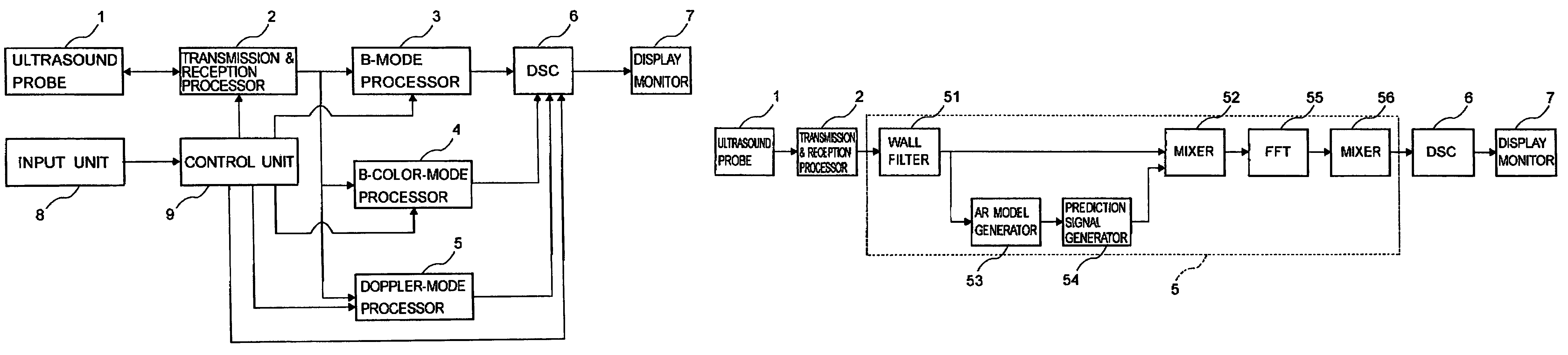
标题:
Ultrasound diagnosis apparatus
授权日:
2010-07-20
公开(公告)号:
US7758506
申请日:
2004-12-08
公开(公告)日:
2010-07-20
当前申请(专利权)人:
TOSHIBA MEDICAL SYSTEMS CORPORATION
发明人:
TAKIMOTO, MASAO
简单同族:
CN100435739C | CN1636519A | JP2005168585A | JP4488726B2 | US20050203401A1 | US7758506
简单同族成员数量:
6
简单同族被引用专利总数:
34
诉讼案件数:
0
法律状态/事件:
授权 | 权利转移