首页
专利数据库
产业人才
行业动态
产业政策法规
维权援助
个人中心
登录/注册
详情
文本
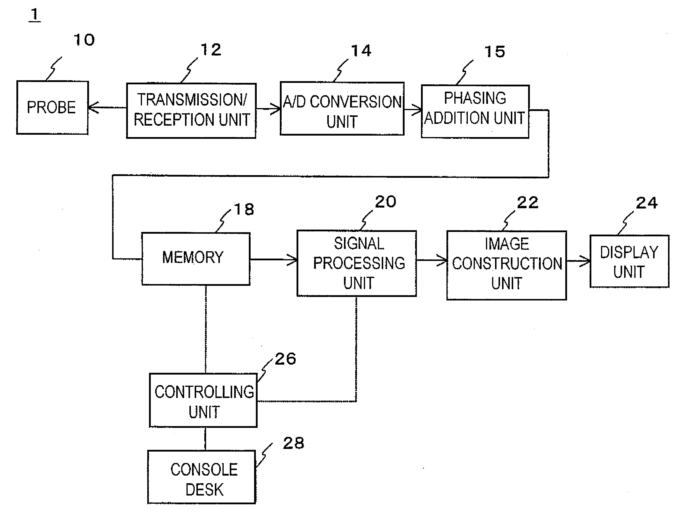
图像
标题:
Ultrasonic Diagnostic Apparatus
授权日:
1900-01-01
公开(公告)号:
US20090131795A1
申请日:
2009-01-22
公开(公告)日:
2009-05-21
当前申请(专利权)人:
SASAKI AKIRA
发明人:
SASAKI, AKIRA
简单同族:
CN100475150C | CN1798523A | EP1634534A1 | EP1634534A4 | JPWO2004107981A1 | JPWO2004107981A5 | US20060173308A1 | US20090131795A1 | US7481768 | WO2004107981A1
简单同族成员数量:
10
简单同族被引用专利总数:
32
诉讼案件数:
0
法律状态/事件:
撤回