首页
专利数据库
产业人才
行业动态
产业政策法规
维权援助
个人中心
登录/注册
详情
文本
图像
标题:
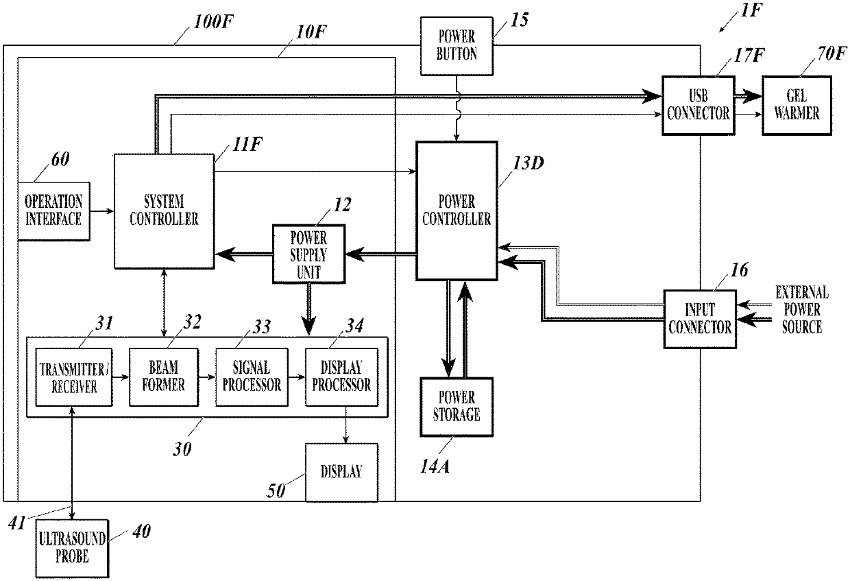
Ultrasound diagnostic apparatus
授权日:
1900-01-01
公开(公告)号:
US20200121298A1
申请日:
2019-10-08
公开(公告)日:
2020-04-23
当前申请(专利权)人:
KONICA MINOLTA, INC.
发明人:
NAKAMURA, YASUHIRO | SATSUKA, TOMOHIKO
简单同族:
JP2020062184A | US20200121298A1
简单同族成员数量:
2
简单同族被引用专利总数:
0
诉讼案件数:
0
法律状态/事件:
公开 | 权利转移