首页
专利数据库
产业人才
行业动态
产业政策法规
维权援助
个人中心
登录/注册
详情
文本
图像
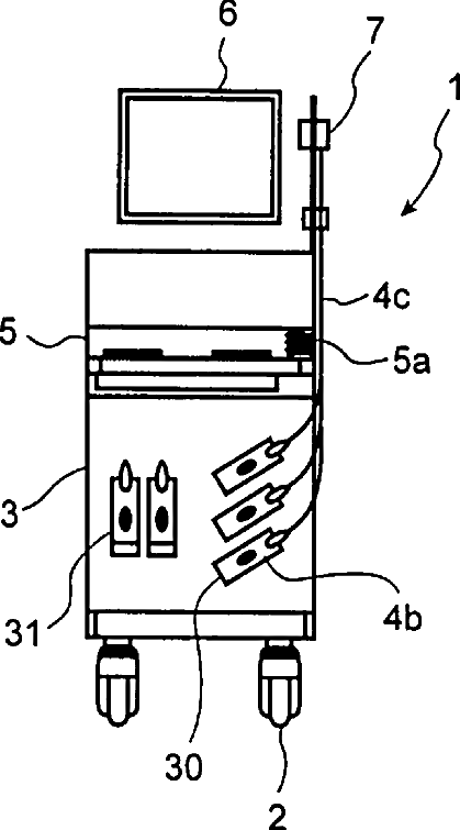
标题:
Ultrasound diagnosis apparatus
授权日:
1900-01-01
公开(公告)号:
US20060036177A1
申请日:
2005-07-05
公开(公告)日:
2006-02-16
当前申请(专利权)人:
TOSHIBA MEDICAL SYSTEMS CORPORATION
发明人:
ONODERA, HIDEO
简单同族:
CN100563579C | CN1720864A | JP2006026046A | JP4602017B2 | US20060036177A1 | US7566305
简单同族成员数量:
6
简单同族被引用专利总数:
34
诉讼案件数:
0
法律状态/事件:
授权 | 权利转移