标题:
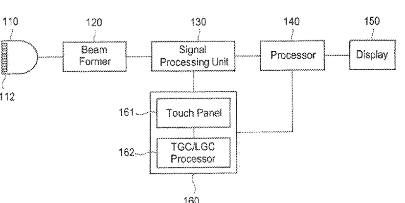
Ultrasound system and signal processing unit configured for time gain and lateral gain compensation --.
授权日:
1900-01-01
公开(公告)号:
US20180228472A1
申请日:
2018-04-04
公开(公告)日:
2018-08-16
当前申请(专利权)人:
SAMSUNG MEDISON CO., LTD.
发明人:
LEE, DOO SIK | AHN, MI JEOUNG
简单同族:
DE602007010404D1 | EP1929952A1 | EP1929952B1 | KR100936456B1 | KR1020080051917A | US10321891 | US20080139932A1 | US20110276283A1 | US20120232393A1 | US20130144169A1 | US20130303911A1 | US20160007966A1 | US20180228472A1 | US8016759 | US8403855 | US9055920 | US9259209 | US9833220
简单同族成员数量:
18
简单同族被引用专利总数:
34
诉讼案件数:
0
法律状态/事件:
实质审查