标题:
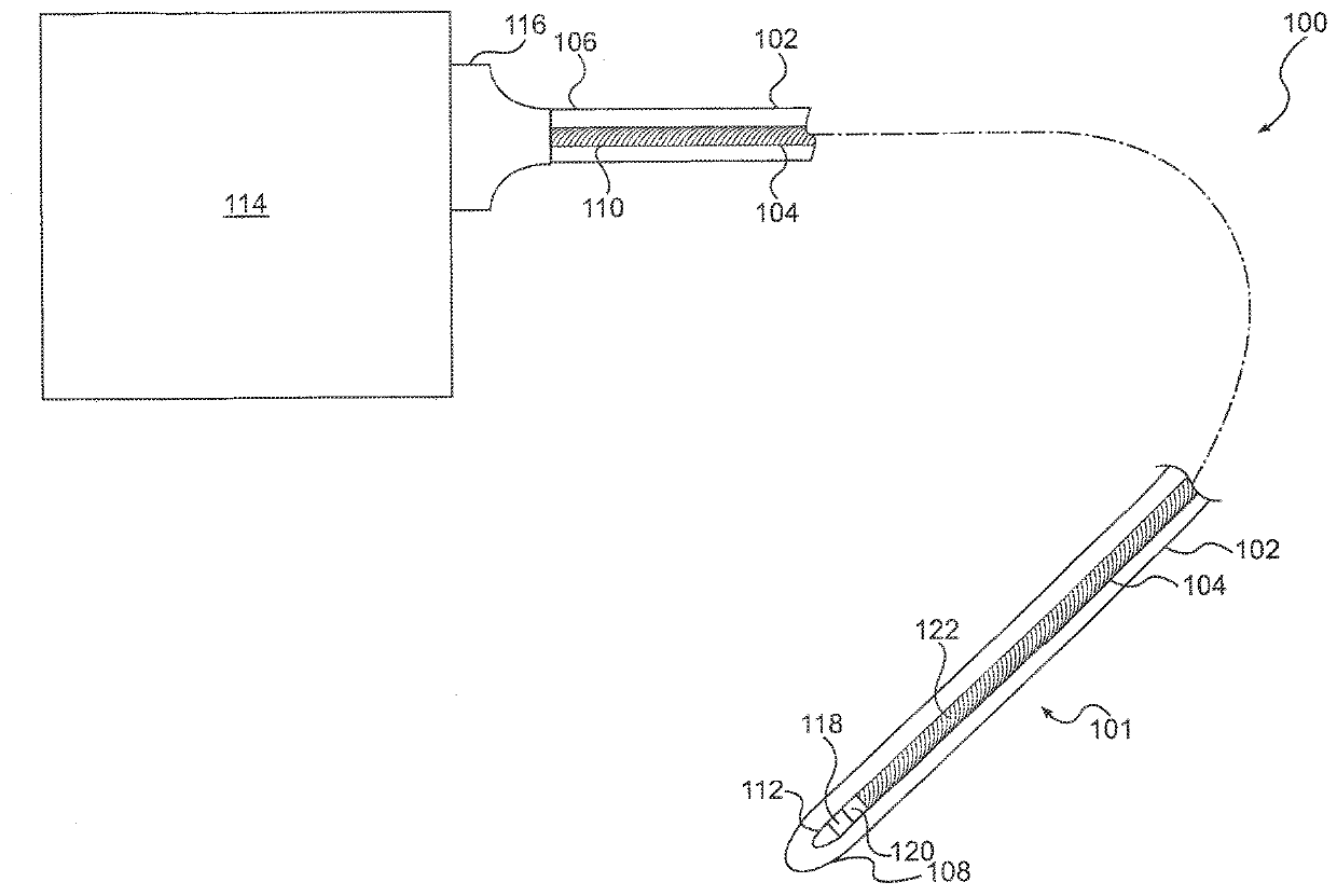
Rotational intravascular ultrasound probe with an active spinning element
授权日:
1900-01-01
公开(公告)号:
US20190357879A1
申请日:
2019-08-08
公开(公告)日:
2019-11-28
当前申请(专利权)人:
VOLCANO CORPORATION
发明人:
CORL, PAUL DOUGLAS
简单同族:
EP2405819A2 | EP2405819A4 | EP2405819B1 | JP2012520127A | JP2016073723A | JP6085664B2 | US10383596 | US20100234736A1 | US20130218020A1 | US20150182188A1 | US20190357879A1 | US8403856 | US8961425 | WO2010104775A2 | WO2010104775A3
简单同族成员数量:
15
简单同族被引用专利总数:
125
诉讼案件数:
0
法律状态/事件:
实质审查 | 权利转移