首页
专利数据库
产业人才
行业动态
产业政策法规
维权援助
个人中心
登录/注册
详情
文本
图像
标题:
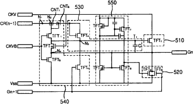
栅极驱动器和薄膜晶体管衬底及其液晶显示器
授权日:
1900-01-01
公开(公告)号:
CN101000417A
申请日:
2007-01-10
公开(公告)日:
2007-07-18
当前申请(专利权)人:
三星电子株式会社
发明人:
金汎俊 | 姜信宅 | 安炳宰 | 李钟赫 | 金有珍
简单同族:
CN101000417A | CN102117607A | CN102117607B | JP2007188079A | JP2007188079A5 | JP5630937B2 | KR101115026B1 | KR1020070074826A | US20070171115A1
简单同族成员数量:
9
简单同族被引用专利总数:
113
诉讼案件数:
0
法律状态/事件:
驳回