首页
专利数据库
产业人才
行业动态
产业政策法规
维权援助
个人中心
登录/注册
详情
文本
图像
标题:
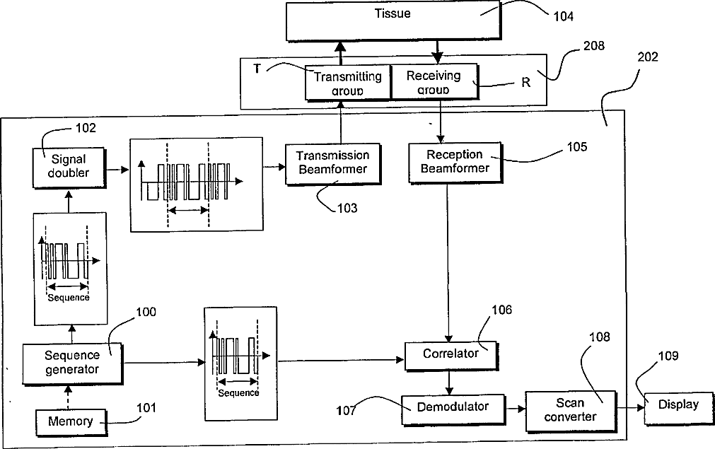
Ultrasound system and ultrasound diagnostic apparatus for imaging scatterers in a medium
授权日:
1900-01-01
公开(公告)号:
US20020049381A1
申请日:
2001-09-04
公开(公告)日:
2002-04-25
当前申请(专利权)人:
KONINKLIJKE PHILIPS ELECTRONICS N.V.
发明人:
ECK, KAI | SCHMITZ, GEORG
简单同族:
JP2002143156A | US20020049381A1 | US6790182
简单同族成员数量:
3
简单同族被引用专利总数:
62
诉讼案件数:
0
法律状态/事件:
未缴年费 | 权利转移