首页
专利数据库
产业人才
行业动态
产业政策法规
维权援助
个人中心
登录/注册
详情
文本
图像
标题:
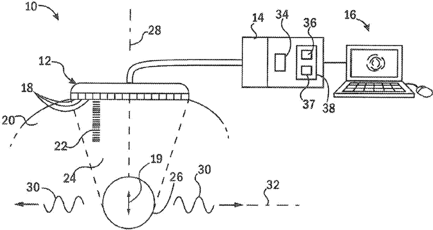
Ultrasonic Imaging System with Angularly Compounded Acoustic Radiation Force Excitation
授权日:
1900-01-01
公开(公告)号:
US20160089112A1
申请日:
2014-09-30
公开(公告)日:
2016-03-31
当前申请(专利权)人:
WISCONSIN ALUMNI RESEARCH FOUNDATION
发明人:
ROSADO-MENDEZ, IVAN, MIGUEL | HALL, TIMOTHY, JON
简单同族:
US20160089112A1
简单同族成员数量:
1
简单同族被引用专利总数:
0
诉讼案件数:
0
法律状态/事件:
实质审查 | 许可 | 权利转移