标题:
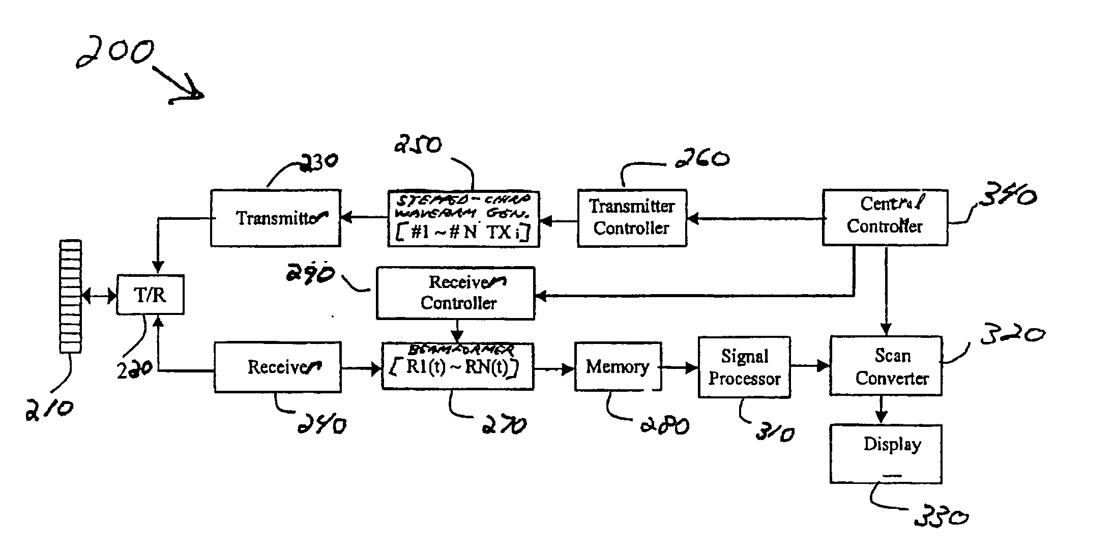
Method and apparatus to enhance ultrasound contrast imaging using stepped-chirp waveforms
授权日:
1900-01-01
公开(公告)号:
US20040059225A1
申请日:
2002-09-24
公开(公告)日:
2004-03-25
当前申请(专利权)人:
GE MEDICAL SYSTEMS GLOBAL TECHNOLOGY COMPANY, LLC
发明人:
HAO, XIAOHUI | PANDA, SATCHI | MILLER, STEVEN C. | CHIAO, RICHARD Y.
简单同族:
CN100409812C | CN1494874A | DE60326527D1 | EP1406096A1 | EP1406096B1 | JP2004113788A | JP4667733B2 | US20040059225A1 | US6953434
简单同族成员数量:
9
简单同族被引用专利总数:
57
诉讼案件数:
0
法律状态/事件:
授权 | 权利转移