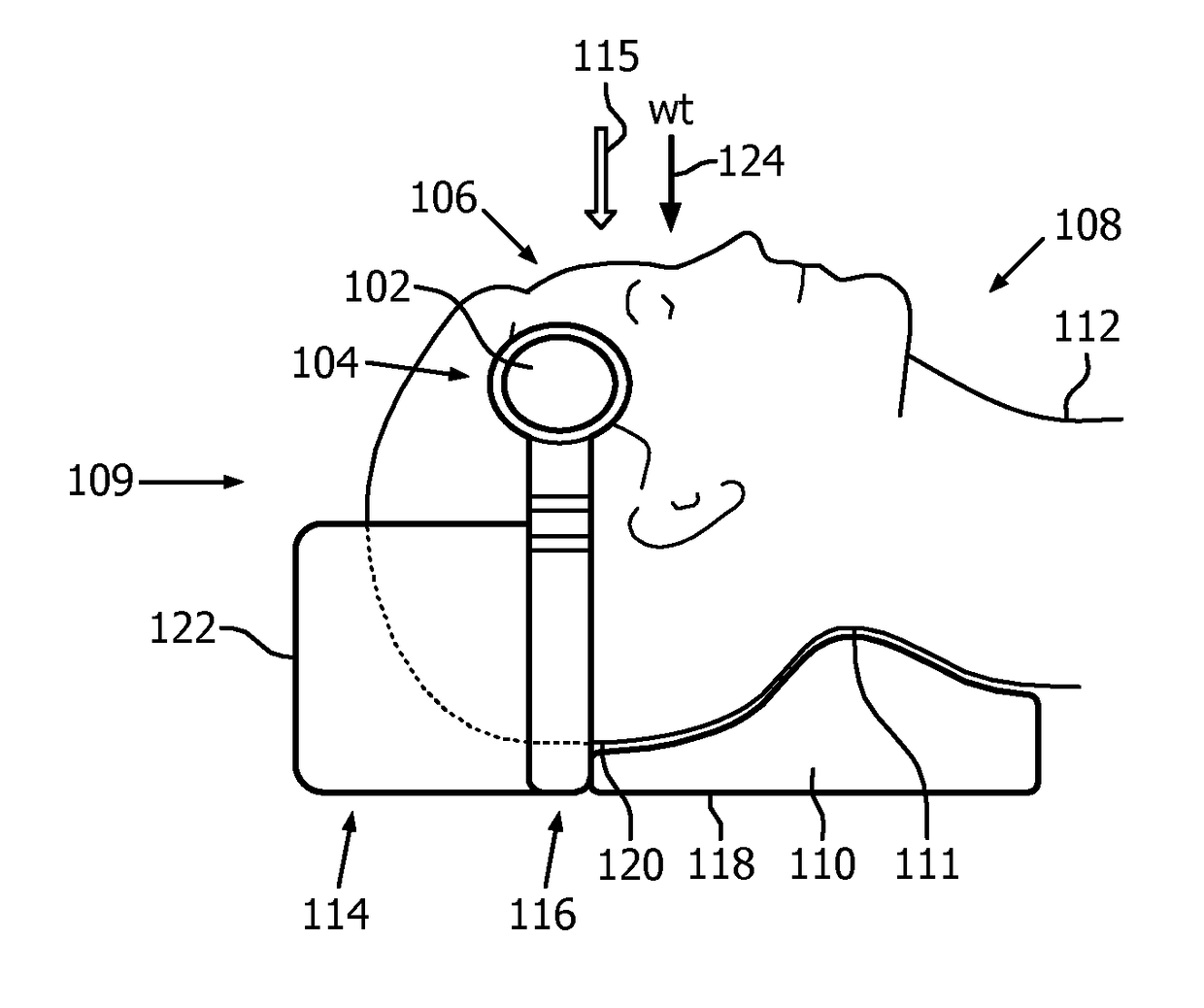
标题:
Ultrasound head frame for emergency medical services
授权日:
2019-02-26
公开(公告)号:
US10213184
申请日:
2013-10-10
公开(公告)日:
2019-02-26
当前申请(专利权)人:
KONINKLIJKE PHILIPS N.V.
发明人:
RINCKER, MAARTEN JOHAN FRIDO | KELLY, JULIANA PAULINE | SEIP, RALF | POWERS, JEFFRY EARL | SHI, WILLIAM TAO | ULLERUP, HELLE | SCHAEKEN, DAVY MARIA WILLIBRORDUS | SWEENEY, TERRENCE JAMES
简单同族:
BR112015008469A2 | CN104736068A | CN104736068B | JP2015533299A | JP2020044416A | RU2015118583A | RU2663646C2 | US10213184 | US20150297176A1 | WO2014060914A1
简单同族成员数量:
10
简单同族被引用专利总数:
26
诉讼案件数:
0
法律状态/事件:
授权 | 权利转移