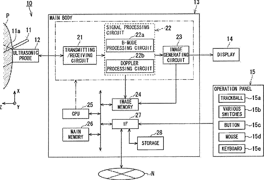
标题:
Ultrasonic diagnostic apparatus and ultrasonic diagnostic method
授权日:
1900-01-01
公开(公告)号:
US20100204579A1
申请日:
2010-02-12
公开(公告)日:
2010-08-12
当前申请(专利权)人:
TOSHIBA MEDICAL SYSTEMS CORPORATION
发明人:
YOSHIDA, TETSUYA | KAMIYAMA, NAOHISA
简单同族:
CN101797167A | CN101797167B | EP2215969A1 | EP2215969B1 | JP2010183935A | JP2010183935A5 | JP5438985B2 | US20100204579A1 | US9119558
简单同族成员数量:
9
简单同族被引用专利总数:
57
诉讼案件数:
0
法律状态/事件:
授权 | 权利转移