首页
专利数据库
产业人才
行业动态
产业政策法规
维权援助
个人中心
登录/注册
详情
文本
图像
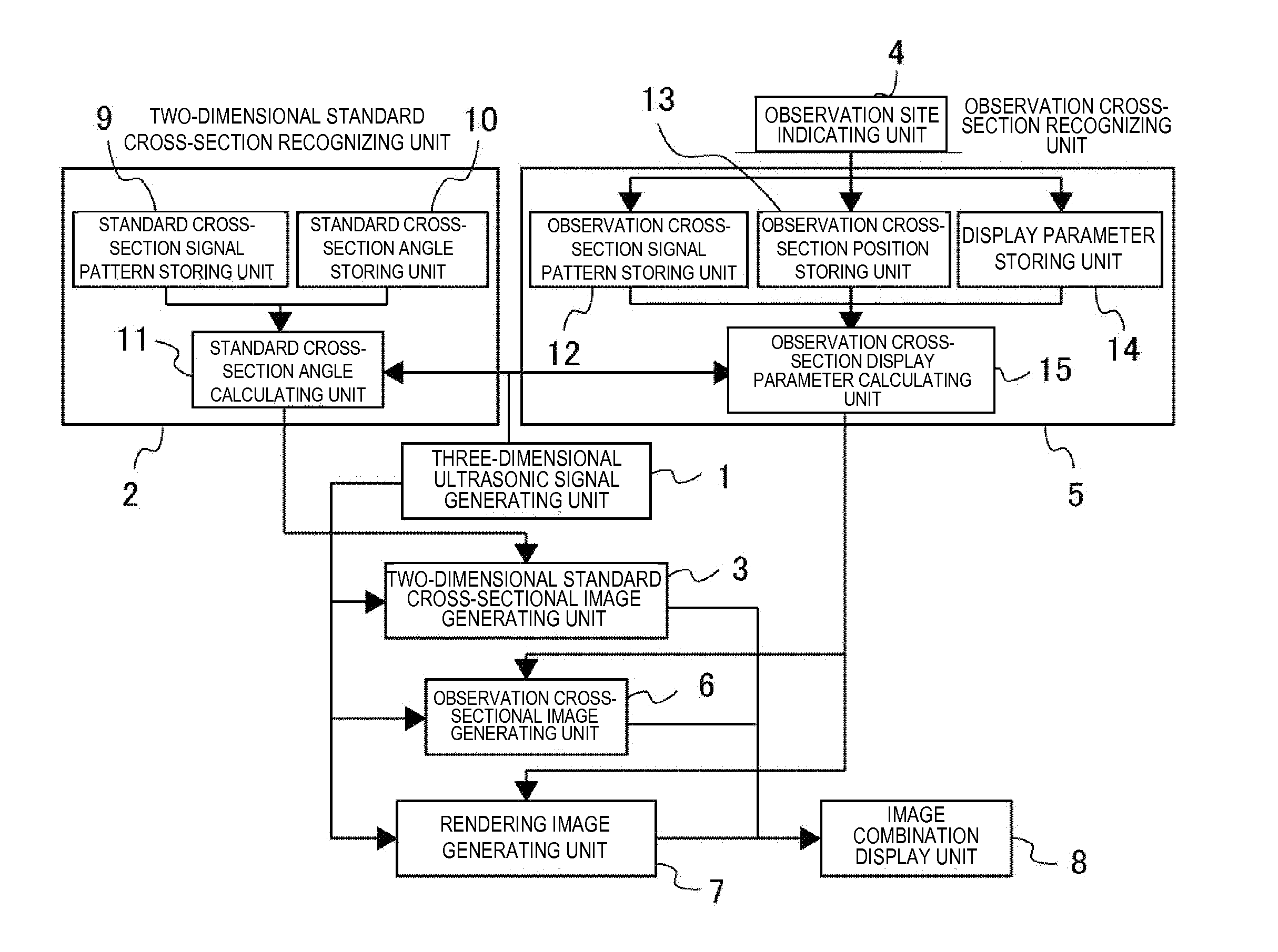
标题:
Ultrasonic diagnostic apparatus and image processing apparatus for ultrasonic diagnosis
授权日:
1900-01-01
公开(公告)号:
US20110178405A1
申请日:
2009-10-02
公开(公告)日:
2011-07-21
当前申请(专利权)人:
HITACHI, LTD.
发明人:
CHONO, TOMOAKI
简单同族:
JP5491405B2 | JPWO2010038848A1 | JPWO2010038848A5 | US20110178405A1 | US8262572 | WO2010038848A1
简单同族成员数量:
6
简单同族被引用专利总数:
32
诉讼案件数:
0
法律状态/事件:
授权 | 权利转移