首页
专利数据库
产业人才
行业动态
产业政策法规
维权援助
个人中心
登录/注册
详情
文本
图像
标题:
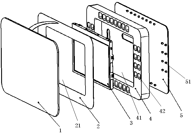
一种实现一体黑效果的显示屏结构
授权日:
2019-11-29
公开(公告)号:
CN209708534U
申请日:
2019-04-23
公开(公告)日:
2019-11-29
当前申请(专利权)人:
惠州市德赛西威汽车电子股份有限公司
发明人:
白庆华 | 赵娜
简单同族:
CN209708534U
简单同族成员数量:
1
简单同族被引用专利总数:
0
诉讼案件数:
0
法律状态/事件:
授权