标题:
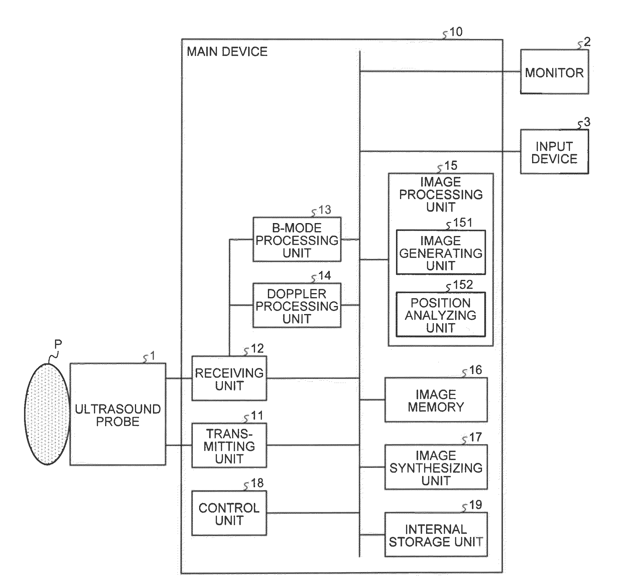
Ultrasonic diagnostic apparatus, positional information acquiring method, and computer program product
授权日:
1900-01-01
公开(公告)号:
US20100185092A1
申请日:
2010-01-15
公开(公告)日:
2010-07-22
当前申请(专利权)人:
TOSHIBA MEDICAL SYSTEMS CORPORATION
发明人:
YAO, CONG | KAMIYAMA, NAOHISA | OKAMURA, YOKO
简单同族:
CN101779964A | CN101779964B | JP2010166973A | JP5284123B2 | US20100185092A1 | US20150080726A1 | US8926513
简单同族成员数量:
7
简单同族被引用专利总数:
24
诉讼案件数:
0
法律状态/事件:
未缴年费 | 权利转移