标题:
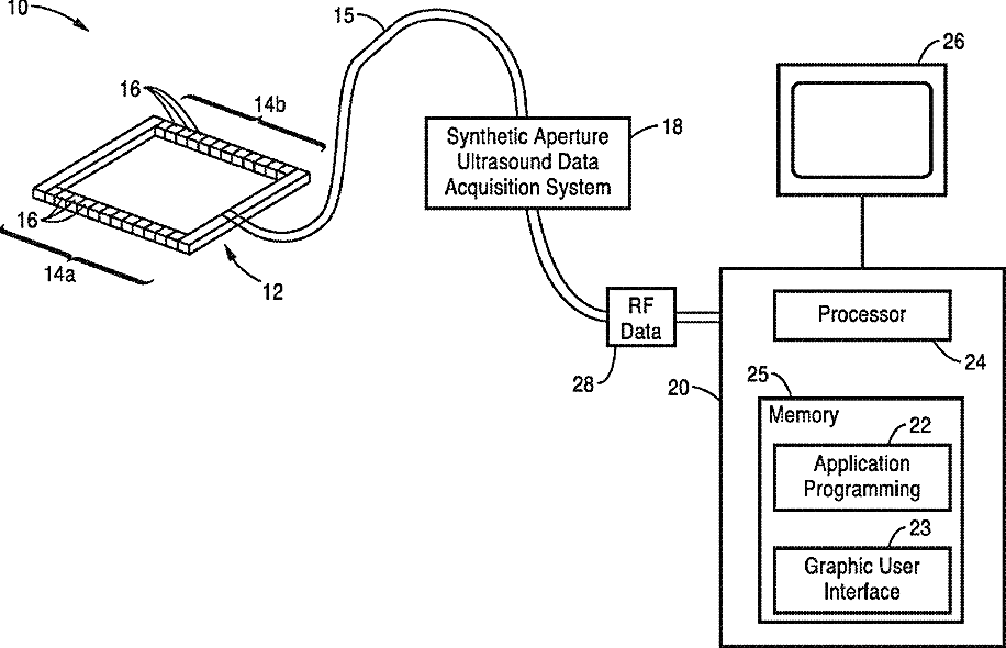
Systems and methods for synthetic aperture ultrasound tomography
授权日:
1900-01-01
公开(公告)号:
US20140364734A1
申请日:
2014-07-24
公开(公告)日:
2014-12-11
当前申请(专利权)人:
TRIAD NATIONAL SECURITY, LLC
发明人:
HUANG, LIANJIE
简单同族:
US10028728 | US10034656 | US10231707 | US20140364734A1 | US20140364735A1 | US20140364736A1 | US20140364737A1 | US20150025388A1 | US20190038258A1 | US20190038259A1 | WO2013116807A1 | WO2013116809A1 | WO2013116851A1 | WO2013116854A1 | WO2013116866A1
简单同族成员数量:
15
简单同族被引用专利总数:
27
诉讼案件数:
0
法律状态/事件:
撤回 | 权利转移