首页
专利数据库
产业人才
行业动态
产业政策法规
维权援助
个人中心
登录/注册
详情
文本
图像
标题:
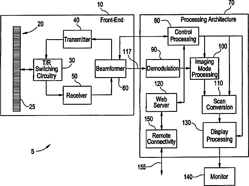
Method and apparatus for remote diagnosis of an ultrasound scanner
授权日:
2003-10-14
公开(公告)号:
US6633833
申请日:
2001-12-14
公开(公告)日:
2003-10-14
当前申请(专利权)人:
GE MEDICAL SYSTEMS GLOBAL TECHNOLOGY COMPANY, LLC
发明人:
SHARMA, SANJEEV | PESHMAN, STEPHEN
简单同族:
US20030115018A1 | US6633833
简单同族成员数量:
2
简单同族被引用专利总数:
50
诉讼案件数:
0
法律状态/事件:
未缴年费 | 权利转移