首页
专利数据库
产业人才
行业动态
产业政策法规
维权援助
个人中心
登录/注册
详情
文本
图像
标题:
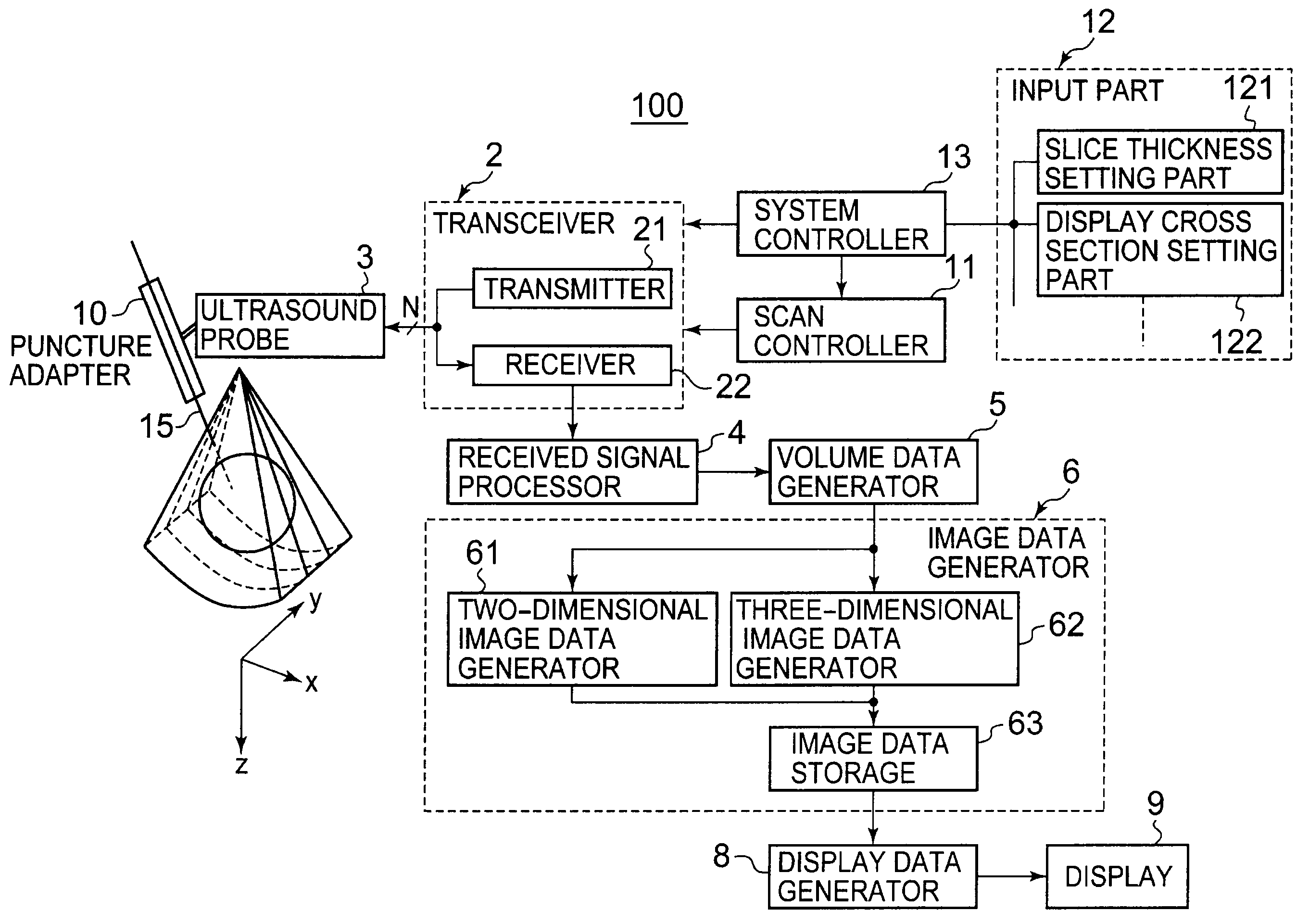
Ultrasound imaging apparatus and method for generating ultrasound image
授权日:
1900-01-01
公开(公告)号:
US20090306511A1
申请日:
2009-05-12
公开(公告)日:
2009-12-10
当前申请(专利权)人:
TOSHIBA MEDICAL SYSTEMS CORPORATION
发明人:
YAMAGATA, HITOSHI
简单同族:
CN101601590A | CN101601590B | JP2010017527A | JP5380121B2 | US20090306511A1 | US9155518
简单同族成员数量:
6
简单同族被引用专利总数:
43
诉讼案件数:
0
法律状态/事件:
未缴年费 | 权利转移