首页
专利数据库
产业人才
行业动态
产业政策法规
维权援助
个人中心
登录/注册
详情
文本
图像
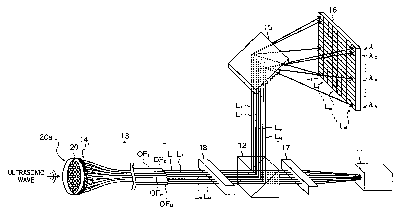
标题:
Ultrasonic receiving apparatus and ultrasonic receiving method
授权日:
2005-04-19
公开(公告)号:
US6881189
申请日:
2003-03-19
公开(公告)日:
2005-04-19
当前申请(专利权)人:
FUJIFILM CORPORATION
发明人:
OGAWA, EIJI
简单同族:
DE60309086D1 | DE60309086T2 | EP1348980A2 | EP1348980A3 | EP1348980B1 | US20030184753A1 | US6881189
简单同族成员数量:
7
简单同族被引用专利总数:
26
诉讼案件数:
0
法律状态/事件:
未缴年费 | 权利转移