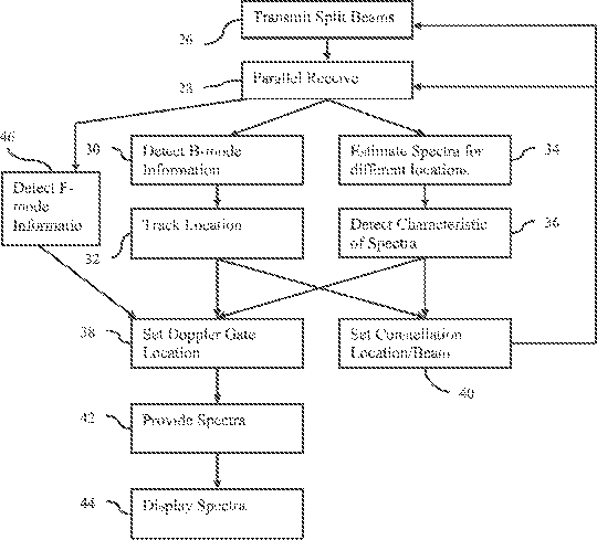
标题:
Automatic doppler gate positioning in spectral doppler ultrasound imaging
授权日:
2015-07-21
公开(公告)号:
US9084576
申请日:
2012-07-13
公开(公告)日:
2015-07-21
当前申请(专利权)人:
SIEMENS MEDICAL SOLUTIONS USA, INC.
发明人:
GURACAR, ISMAYIL M.
简单同族:
CN103536315A | CN103536315B | CN104983443A | CN104983443B | DE102013011510A1 | JP2014018663A | JP2014018663A5 | JP6008803B2 | KR101594862B1 | KR1020140009058A | US20140018680A1 | US20150201904A1 | US9084576 | US9579083
简单同族成员数量:
14
简单同族被引用专利总数:
30
诉讼案件数:
0
法律状态/事件:
授权 | 权利转移