首页
专利数据库
产业人才
行业动态
产业政策法规
维权援助
个人中心
登录/注册
详情
文本
图像
标题:
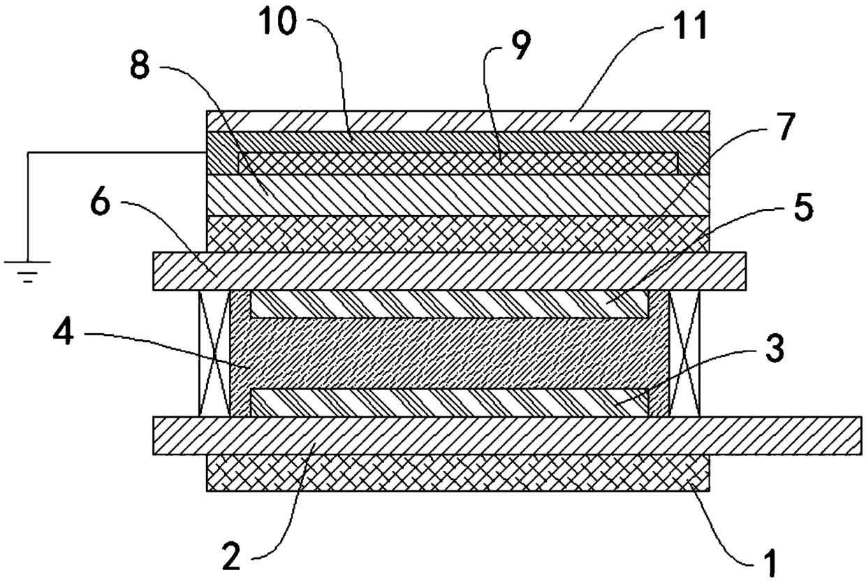
一种LCD模组
授权日:
2016-02-17
公开(公告)号:
CN205038420U
申请日:
2015-09-24
公开(公告)日:
2016-02-17
当前申请(专利权)人:
湖北优利迪显示科技有限公司
发明人:
丁雄伟 | 张浩彭 | 傅伟伟 | 盛刚兵 | 栗朝军
简单同族:
CN205038420U
简单同族成员数量:
1
简单同族被引用专利总数:
0
诉讼案件数:
0
法律状态/事件:
未缴年费