首页
专利数据库
产业人才
行业动态
产业政策法规
维权援助
个人中心
登录/注册
详情
文本
图像
标题:
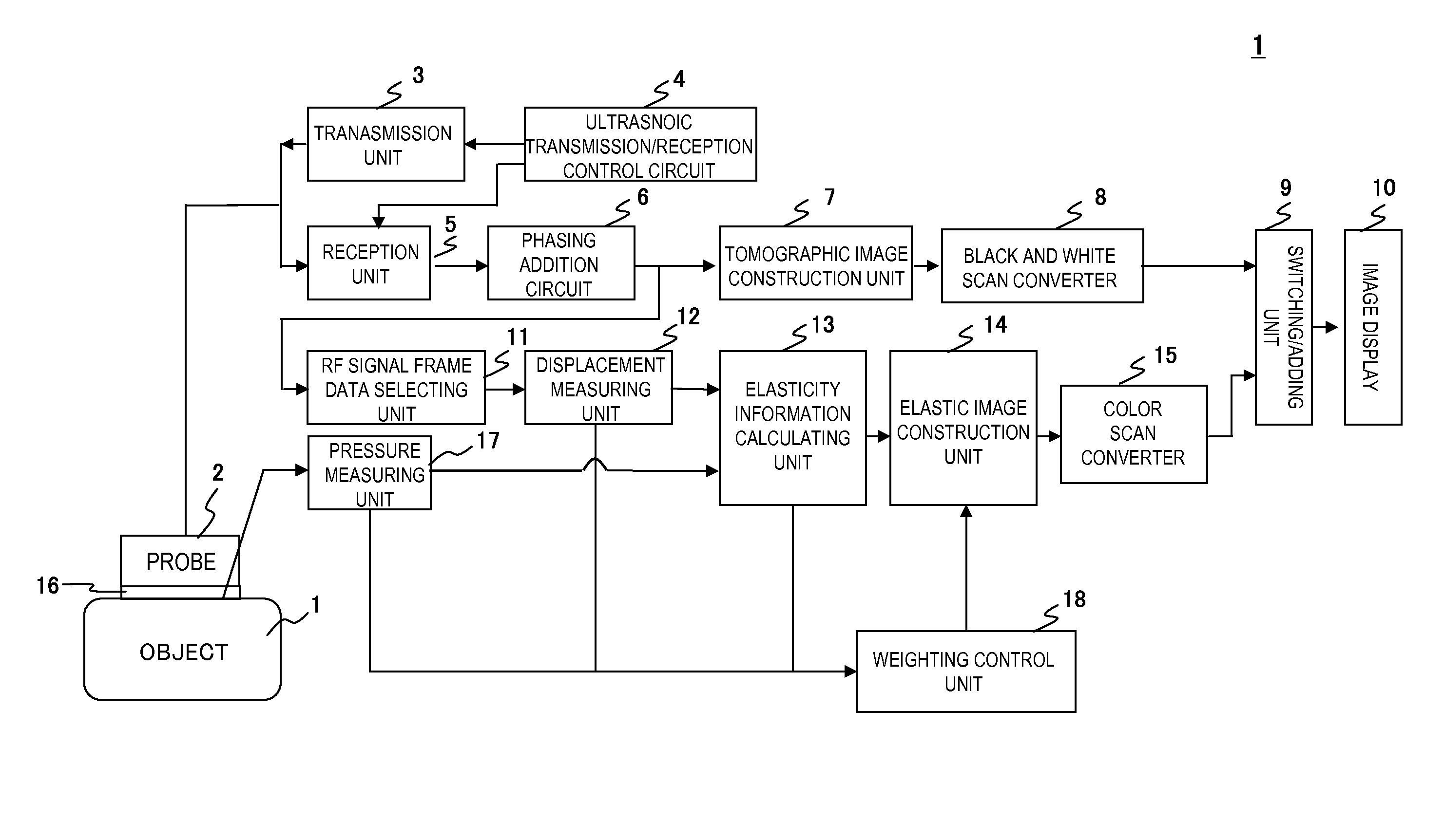
Ultrasonic diagnostic apparatus
授权日:
1900-01-01
公开(公告)号:
US20090292205A1
申请日:
2007-07-18
公开(公告)日:
2009-11-26
当前申请(专利权)人:
HITACHI MEDICAL CORPORATION
发明人:
OSAKA, TAKASHI
简单同族:
JP4898809B2 | JPWO2008010500A1 | JPWO2008010500A5 | US20090292205A1 | WO2008010500A1
简单同族成员数量:
5
简单同族被引用专利总数:
44
诉讼案件数:
0
法律状态/事件:
撤回 | 权利转移